§ 监控平台-使用手册
§ 一、ICSP-监控管理
§ 服务登记
服务查询
在应用名称查询框内输入应用名称,或者在应用类型下拉框中选择一种应用类型,点击查询,查询到所匹配的服务信息。

添加服务
点击添加,需要填写必要应用信息,包括:应用名称,应用类型(默认为微服务),应用描述,JVM参数,应用参数。应用类型为”WEB”时,无需JVM参数和应用参数。
点击新增:保存当前添加的信息,并且返回新的带有上一添加信息的页面。

应用文件上传
选择一个服务并点击上传按钮,选择后缀名为jar的文件。
点击上传:上传所选的文件,弹出上传成功的提示框,并返回服务登记主页面。
删除服务
删除服务可以直接点击需要删除的服务信息当前所在行的删除图标进行删除

修改服务
修改服务和删除服务一样,可以点击修改图标进行修改。
修改服务弹出的修改框基本与添加相同,但是信息已经填入,你修改需要修改的信息后,点击保存即可修改。
点击修改:保存当前修改的信息,并且返回新的带有上一修改信息的页面。


§ 服务部署
服务部署
下拉框中选择一个服务,并勾选表格中的服务。

点击增加实例按钮,在增加实例弹出框中选择主机,点击文件部署按钮。

之后弹出部署进度的提示框,执行到部署结束步骤时,即完成服务部署。

部署成功之后,实例列表中会显示主机的状态及版本

查看部署历史
点击部署历史按钮,可查当前服务所有的部署历史。

重新部署
选择想要重新部署的服务及主机,点击重新部署,即可重新部署选中主机上的服务

重启(服务的应用类型为微服务才可以重启)
可重新启动选择的服务主机
停止(服务的应用类型为微服务才可以停止)
可停止选择的服务主机
删除
只有服务主机是停止的状态,才可以删除。
§ 收集器管理
添加收集器
添加收集器需要填写必要信息,包括:主机地址,收集器(默认为log),收集器配置。 提交:保存当前添加的信息,并且返回新的带有上一添加信息的添加页面。

删除
删除收集器可以直接点击需要删除的收集器信息所在行的删除图标进行删除。

修改
修改收集器信息和删除收集器一样,点击修改图标进行修改。
修改收集器弹出的修改框与添加相同,但是信息已经填入,你修改需要修改的信息后(主机地址和收集器,不能再修改),点击提交即可修改。
提交:保存当前修改的信息,并且返回新的带有上一修改信息的添加页面

启动
抓取收集器配置默认是启动状态
停止
点击停止按钮之后,将不会在抓取新的异常日志
查询
查询条件有主机地址、收集器。输入信息可以查询到相应条件下的结果。

§ 后台日志配置
添加
添加日志需要填写必要日志信息,包括:名称,日志类型,日志路径。
提交:保存当前添加的信息,并且返回新的带有上一添加信息的添加页面。

删除
删除日志可以直接点击需要删除的日志信息所在行的删除图标进行删除。

修改
修改日志信息和删除日志一样,点击修改图标进行修改。
修改日志弹出的修改框与添加相同,但是信息已经填入,你修改需要修改的信息后(名称和日志类型,不能再修改),点击提交即可修改。
提交:保存当前修改的信息,并且返回新的带有上一修改信息的添加页面

刷新
点击刷新按钮,可刷新当前日志信息列表。
§ 后台日志监控
输入关键字后,点击查询按钮,可以查看包含此关键字的日志信息。

§ 二、BIP-监控管理
§ 应用管理
§ 服务集群
启动服务器
选中想要启动的服务器,并点击启动服务器按钮,即可启动。刷新间隔默认为30s。

停止服务器
选中想要停止的服务器,并点击停止服务器按钮,即可停止。刷新间隔默认为30s。

查看服务节点信息
- 点击想要查看的服务节点,可查看服务器文件、客户端信息、及JVM信息。

服务器文件浏览(可下载服务器文件日志)

客户端信息包括:文件浏览(可下载客户端日志)、截屏及堆栈信息。




§ 服务登记
服务查询
在应用名称查询框内输入应用代码、应用模块名称或者服务节点类型,点击查询,查询到所匹配的服务信息。

添加服务
点击添加,需要填写必要应用信息,包括:应用代码、应用名称,服务节点类型(包括普通服务器和灰度服务期),应用类型(主应用、子应用)、应用部署路径,应用说明。
点击新增:保存当前添加的信息,并且返回新的带有上一添加信息的页面。

应用文件上传
选择一个服务并点击上传按钮,选择后缀名为zip的文件(文件名称与应用代码的名称需一致)
点击上传:上传所选的文件,弹出上传成功的提示框,并返回服务登记主页面。

§ 版本部署
版本部署步骤
- 首先选择一个服务节点,列表中会回显服务节点信息

- 点击表格中的服务节点信息,版本列表中会显示节点主机,可以选择一个主机或多个,点击版本部署

- 弹出版本部署提示框,选择是否需要重启服务,并点击确定按钮。

- 之后会弹出部署进度提示框,进度条进行到”部署完成”之后,即完成了部署。

部署监控
点击部署监控按钮,可查看当前服务的部署历史,如果部署失败,操作一列可以查看错误信息。


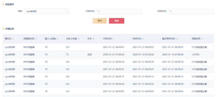
§ 历史预警信息查询
查询
查询条件有指标、开始时间、结束时间。输入信息可以查询到相应条件下的记录。

§ 表空间使用查看
用于查看数据库表的空间大小,显示全部的表的已使用空间和剩余空间的大小及占比。

§ 日志管理
§ 设备日志
此页面用于查看设备日志的信息:客户端在进行业务操作时,如果操作异常,会将异常日志上传至服务器。
查询
查询功能在页面上方的查询框内,输入要查询的上传用户和节上传时间,点击查询按钮,查询你需要的日志信息。

删除
删除日志可以直接点击需要删除的日志信息所在行的删除图标进行删除。

§ 柜员登录信息查询
柜员登录信息查询功能
在柜员号查询框内输入柜员号,点击查询,查询到当天登录的柜员信息(日期默认是当天)。
在机构查询框输入机构号,点击查询,查询该机构下当天登录的柜员信息。在此界面点击登录信息按钮,可查看该柜员的当天登录信息。

文件浏览
点击文件浏览按钮,可以查看当前柜员的客户端文件。 点击文件夹,可以进入到该文件夹下查看文件。点击文件,可以下载文件到本地。
注意:只有该柜员在线才能浏览文件,否则按钮是禁用状态

截屏
点击截屏按钮按钮,可以对该柜员客户端进行截屏,并保留到本地。
注意:只有该柜员在线才能截屏,否则按钮是禁用状态

堆栈信息查看
点击堆栈信息查看按钮,可以查看柜员客户端堆栈信息。
注意:只有该柜员在线才能查看堆栈信息,否则按钮是禁用状态

§ 柜员服务器日志查询
查询柜员服务器日志
日期默认为当天,输入柜员号或者机构号,查询对应日志。点击列表中文件,可以下载该文件。

§ 配置管理
§ 节点配置
添加
添加节点需要填写必要节点信息,包括:节点主机IP(可以手动输入,进行模糊搜索),节点名称,节点类型(普通服务器,灰度服务器),应用路径,节点名称,更新目录,应用端口,HTTP端口,JVM端口,RMI端口,节点描述。
新增:保存当前添加的信息,并且返回新的带有上一添加信息的添加页面。

删除
删除服务器节点可以直接点击需要删除的服务器节点信息所在行的删除图标进行删除。

修改
修改服务器节点和删除服务器节点一样,点击修改图标进行修改。
修改服务器节点弹出的修改框与添加相同,但是信息已经填入,你修改需要修改的信息后(节点主机IP地址和节点名称,不能再修改),点击保存即可修改。
修改:保存当前修改的信息,并且返回新的带有上一修改信息的添加页面。

查询
查询功能在页面上方的查询框内,输入要查询的主机IP和节点名称以及节点类型,点击查询按钮,查询你需要的服务器节点信息。

§ 版本服务器配置
添加
添加节点需要填写必要节点信息,包括:服务器地址(IP地址),http端口,分行号(机构号),备注信息。
新增:保存当前添加的信息,并且返回新的带有上一添加信息的添加页面。

删除
删除版本服务器节点可以直接点击需要删除的服务器节点信息所在行的删除图标进行删除。

修改
修改版本服务器节点和删除版本服务器节点一样,可以点击修改图标进行修改修改版本服务器节点弹出的修改框与添加相同,但是信息已经填入,你修改需要修改的信息后,点击保存即可修改。
修改:保存当前修改的信息,并且返回新的带有上一修改信息的添加页面。

查询
查询功能在页面上方的查询框内,输入要查询的IP地址和端口号,点击查询按钮,查询你需要的版本服务器节点信息。

§ 预警阀值配置
预警阀值配置
预警阀值配置界面展示的是预警器列表,点击每行所对应的修改按钮修改来设置阀值。
阀值设置的信息:包括属性名、属性类型、上阀值、预警状态、是否启用(是否启用预警器))。修改相应信息,点击修改按钮进行修改。

§ 三、主机管理
§ 代理主机
代理主机应用于icsp监控管理和bip监控管理,可查看两者的ip信息。
查询主机
输入主机地址,点击查询按钮,可以查看相关主机的信息。

停止
停止Agent代理可以选中表格中对应主机的复选框,点击停止按钮,点击确认即可停止代理服务

代理JDK版本
代理JDK版本分为1.6版本和1.8版本。


§ 主机分组
主机分组应用于icsp监控管理
主机分组查询
输入分组名称,点击搜索即可查看分组信息,支持模糊搜索。

点击某个分组之后,右侧会显示相应分组的主机信息

主机信息查询
输入主机地址,可显示主机的信息,支持模糊搜索。

主机分配
点击某个主机分组,并点击主机分配,选择Ip之后点击提交,即可完成主机分配。



点击主机信息中的配置按钮,即可查看当前行中的ip中部署的应用信息。


§ 分组维护
分组维护应用于icsp监控管理
分组查询
可以输入分组名称或者选择类型,查询分组的信息,支持模糊搜索。

添加分组
点击添加按钮,需要填写必要分组信息,包括:分组描述,分组类型,基础路径。
点击新增:保存当前添加的信息,并且返回新的带有上一添加信息的页面。

修改
修改分组与添加分组界面相同,修改信息后点击修改按钮即可进行修改。


详情
分组详情与添加分组界面相同,只可查看分组信息不允许修改。

删除
点击对应行的删除按钮,删除对应分组

§ 四、公共系统
§ 机构管理
添加机构
点击需要添加子机构的机构,点击新增,弹出新增系统机构界面,输入必填字段。
点击提交:保存当前添加的信息,并且返回新的带有上一添加信息的页面。


删除
点击需要删除的机构当前行的删除按钮图标,即可删除当前行机构。

修改
点击需要修改的机构当前行的修改按钮图标,即可修改机构信息。修改界面与添加界面相同。

查询
查询条件有:组织机构代码、组织机构名称。

§ 用户管理
添加用户
输入必输项。点击提交,保存当前添加的信息,并且返回新的带有上一添加信息的页面。

用户详情
选中需要查看的用户,点击详情按钮进行查看。

修改用户
修改用户与添加用户界面相同,员工编号无法修改,修改信息后点击右下角的提交按钮即可进行修改。

§ 功能管理
新增业务功能
点击左侧监控平台的模块,右边会回显对应模块的业务功能。
点击新增:输入必输项,点击保存,保存当前添加的信息,并且返回新的带有上一添加信息的页面


删除
删除对应的功能。

修改
修改对应功能的信息,修改界面与添加界面相同。


查询
查询条件有:功能名称。支持模糊查询。

§ 菜单管理
新增菜单
点击需要添加子菜单的菜单,然后点击添加按钮,输入菜单名称等必输项,并点击右侧的业务功能列表(这样即可实现菜单与路由的相互联系),点击保存,重新登录之后就可以看到新的菜单。右侧业务功能列表可以通过模块名称和功能名称进行搜索。

删除菜单
选中想要删除的菜单,点击删除按钮,重新登录之后,菜单会更新。
